遠隔操作スプレー
2025-06-13 17:52:01

株式会社ドローンネット、革新的な遠隔操作スプレー技術の特許を取得

株式会社ドローンネット、遠隔操作スプレー技術の特許取得



株式会社ドローンネット(本社:東京都千代田区)は、革新的な新技術「遠距離操作スプレー」にかかる特許(特許第6851442号)を取得したことを発表しました。この技術は、スプレー装置の操作部分を無線化し、従来よりもはるかに安全かつ効果的に噴霧作業を行うことを可能にします。この特許技術を活用して、ドローン搭載型スプレーユニットの実用化と商業展開が進められており、作業効率と安全性の向上が期待されています。

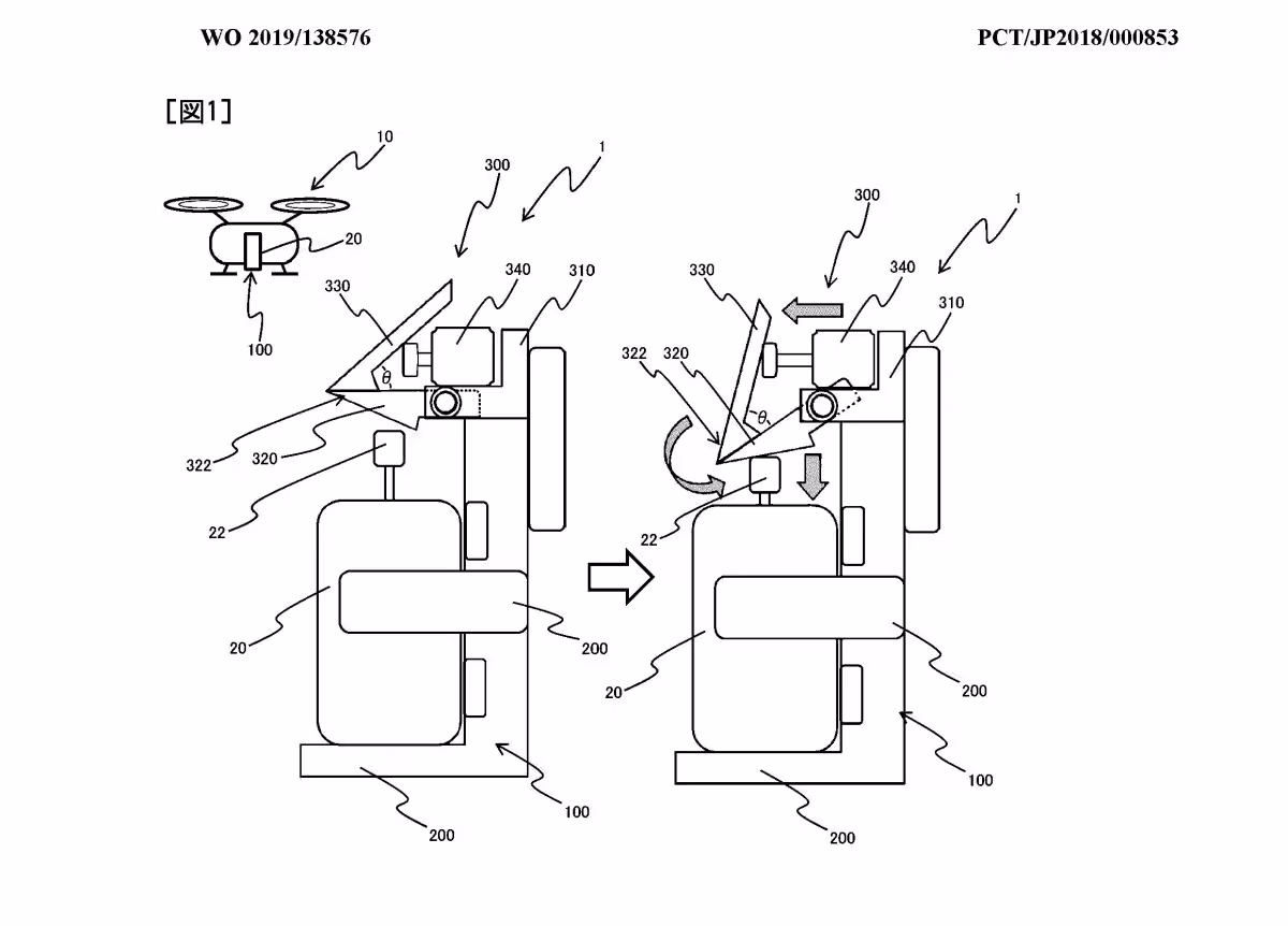
特許技術の構造


遠距離操作スプレーは、以下の特徴を持っています:
  • - スプレー装置内に電子制御基板や駆動装置、ノズルを組み込み、無線によるトリガー操作信号で離れた場所から噴霧を制御する仕組み。
  • - 遮蔽された空間や高所、危険区域での遠隔操作が可能。
  • - 複数台のスプレー装置を一括で制御したり、順次操作する柔軟性を提供。
  • - 従来のスプレー装置への後付け拡張が見込まれている。
この技術により、作業者の安全を確保しつつ、省人化や作業時間の短縮も可能になり、広域対応ができます。

実用展開の可能性


株式会社ドローンネットは、遠距離操作スプレーを用いて、以下の分野での実用化を目指しています:
  • - 災害対応:立ち入ることができないエリアでの消火剤や消毒液の噴霧。
  • - 建設・インフラ保守:橋梁やトンネルなどの補修作業。
  • - 農業と環境管理:山間部や河川敷での除草や害虫駆除。
  • - 公共衛生:都市インフラや交通施設の衛生管理や防疫作業。
同社は、この技術を応用した軽量で高精度なスプレーユニットの開発を進めており、自治体や企業、研究機関との連携による導入検証を行っています。

国際展開に向けた動き


当社の技術は、国際的な市場における重要性や応用可能性が期待されており、以下の国や地域において国際特許の出願を進めています:
  • - アメリカ合衆国
  • - 欧州連合
  • - 中国
  • - 韓国
  • - インド
  • - インドネシア
  • - タイ
  • - フィリピン
  • - ベトナム
  • - シンガポール
  • - オーストラリア
  • - アフリカ地域
これらの地域では、ドローンの広がりが顕著であり、当社の技術が国際的な課題解決に寄与すると考えられます。

社会的意義と未来の展望


ドローンの活用は日々広まっており、特に「人が行けない場所」「人が行かない方が良い場所」での作業効率と安全の確保が課題です。ドローンネットは、「ドローンで世界中の人を笑顔に」のビジョンのもと、特許技術を中心に新たな作業ソリューションを社会に実装し、持続可能な産業と安心・安全な社会作りに貢献していく所存です。

特許情報


  • - 発明名:遠距離操作スプレー
  • - 特許番号:特許第6851442号
  • - 登録日:2021年11月1日
  • - 出願人:藤井電工株式会社
  • - 発明者:藤井一義、藤井輝久

会社概要


  • - 会社名:株式会社ドローンネット(DRONE NET Inc.)
  • - 設立:2017年3月
  • - 代表者:村上一幸
  • - 本社所在地:東京都千代田区平河町1-3-12
  • - 資本金:約3.23億円
  • - 従業員数:約40名
  • - 事業内容:ドローンの設計、製造、販売、パイロット育成、教育コンテンツの提供、イベントやレース等の主催。


画像1

画像2

画像3

会社情報

会社名
株式会社ドローンネット
住所
東京都千代田区平河町1-3-12
電話番号
03-6261-6018

関連リンク

サードペディア百科事典: 東京都 千代田区 ドローン 特許 スプレー

Wiki3: 東京都 千代田区 ドローン 特許 スプレー

トピックス(IT)

【記事の利用について】

タイトルと記事文章は、記事のあるページにリンクを張っていただければ、無料で利用できます。
※画像は、利用できませんのでご注意ください。

【リンクついて】

リンクフリーです。