自治体病院の課題
2025-12-26 15:05:13

全国自治体病院におけるウェブアクセシビリティの現状と課題

全国自治体病院におけるウェブアクセシビリティの現状



最近、株式会社アーティスが実施した調査により、全国の自治体病院におけるウェブアクセシビリティ対応の遅れが浮き彫りになりました。調査対象は500床以上の病院95を含み、高い公共性が求められる自治体病院のウェブサイトの現状が明らかにされました。

調査の背景



2024年に改正される「障害者差別解消法」により、ウェブアクセシビリティの重要性が増しています。法律が直ちに義務化されたわけではありませんが、すべての利用者に情報へのアクセスを平等に保障するための取り組みが求められています。特に、総務省の「みんなの公共サイト運用ガイドライン(2024年度版)」では、ウェブアクセシビリティが公的機関にとっての責務と考えられています。

このガイドラインに基づき、自治体病院のウェブサイトの現状を確認し、どのような取り組みが行われているかについて調査を開始しました。

調査結果の概要



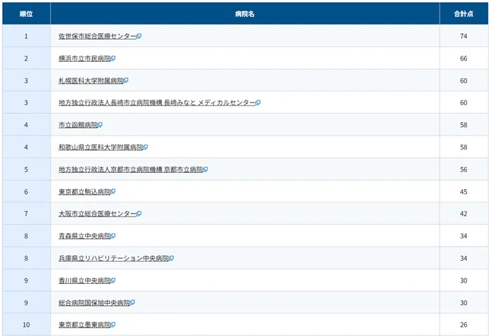
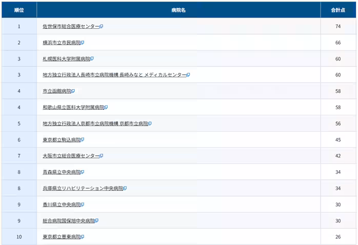
95の病院のウェブサイトを調査した結果、67病院が「ウェブアクセシビリティ方針」を公開していないという衝撃的な結果が得られました。ウェブアクセシビリティ方針を策定し公開することは、積極的な取り組みを示す重要なステップであるにもかかわらず、その第一歩が踏み出せていないことが明らかになりました。しかし、より深刻なことは、こうした方針を一度公開しても、その後の更新や継続的な取り組みが行われていない病院が多く見受けられることです。

たとえば、ほんの1病院が「ウェブアクセシビリティ取組確認・評価表」を公開しており、体系的なアプローチがなされている状況は極めて少数派であることが特筆されます。

今後の課題



調査から浮かび上がった課題は、ウェブアクセシビリティの整備が未だ不十分であること、そして必要な情報や取り組みの公開が非常に少ないことです。このような状況では、誰もが簡単に医療情報にアクセスする権利が守られていないことを意味します。病院側がウェブアクセシビリティの重要性を理解し、必要な対策を講じることが、今後の改善への第一歩となるでしょう。

結論



ウェブアクセシビリティは特に医療機関において、すべての利用者に配慮した重要な要素です。今後、各病院がこの重要性を認識し、社会的責任を果たすための努力を続けることが求められます。医療を必要とするすべての人に、公平で利用しやすい情報提供を実現するための道筋を整えていくことが、今後の課題であると言えるでしょう。

調査の詳細と今後の方向性



調査は2025年の8月から10月にかけて実施され、ウェブサイトの各項目を目視で確認する形で行われました。対象となった病院のウェブサイトについては、今後も定期的な調査や進捗の評価が重要になってきます。病院が進むべき方向性を見極め、実際的な改善案を提案していくことが、ウェブアクセシビリティの進展に寄与することでしょう。


画像1

会社情報

会社名
株式会社アーティス
住所
静岡県浜松市中央区板屋町111-2浜松アクトタワー20階
電話番号
053-459-1700

トピックス(地域情報)

【記事の利用について】

タイトルと記事文章は、記事のあるページにリンクを張っていただければ、無料で利用できます。
※画像は、利用できませんのでご注意ください。

【リンクついて】

リンクフリーです。